براغي "بي إم دبليو" أكثر تميزًا وأصعب في الفك.. لماذا؟
شهد عالم السيارات جدلاً كبيرًا بعد الكشف عن براءة اختراع جديدة لشركة بي إم دبليو، تتعلق بتصميم براغي خاصة تحمل شكل شعار العلامة التجارية.
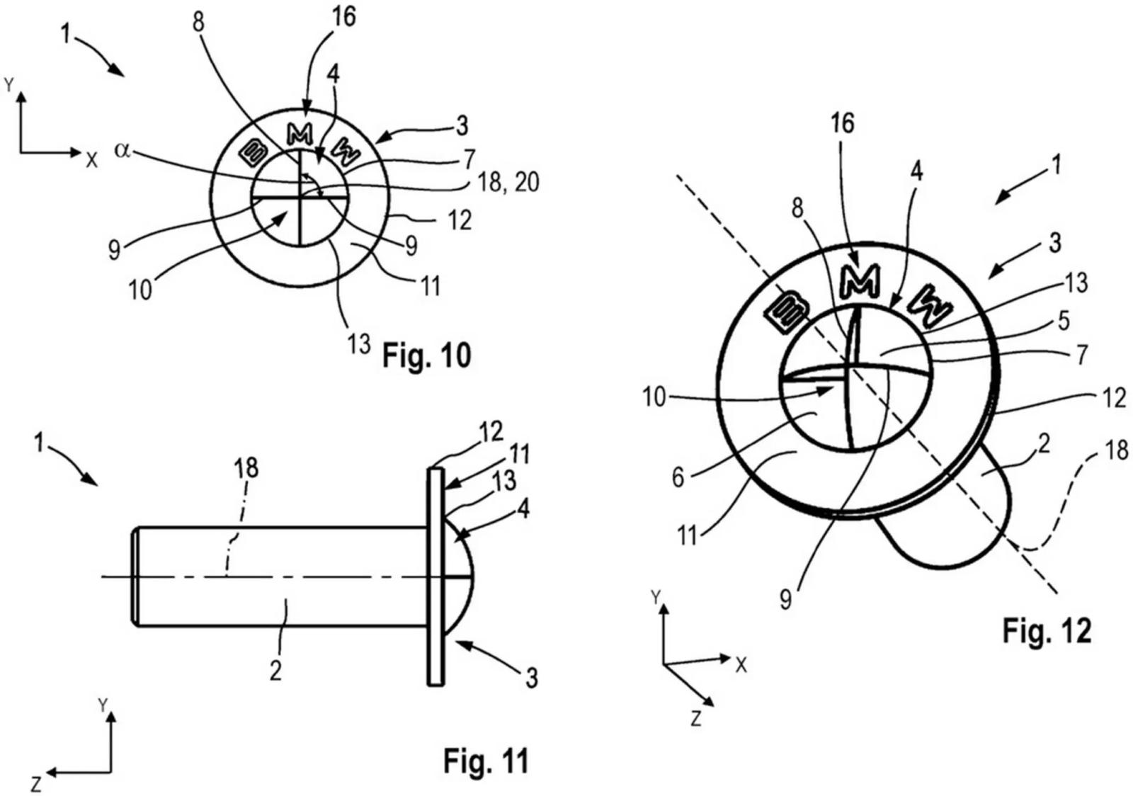
هذه البراغي، التي ظهرت في رسومات براءة الاختراع المنشورة في ديسمبر 2025، قد تجعل عمليات الإصلاح والصيانة أكثر تعقيدًا بالنسبة للمالكين والورش المستقلة.
الفكرة تقوم على استبدال البراغي التقليدية بتصاميم مستوحاة من شعار الشركة الدائري، مقسّم إلى أربعة أرباع، بحيث يتطلب فكها أدوات خاصة مصممة خصيصًا لهذا الغرض.
مواصفات براغي بي إم دبليو
براءة الاختراع أوضحت أن هناك أربعة أنماط مختلفة لرؤوس البراغي، منها المسطّح والمستدير والمجوّف، جميعها تحمل تفاصيل شعار بي إم دبليو.
هذه التصاميم قد تبدو جذابة إذا استُخدمت في أجزاء مرئية من المقصورة أو المحرك، لكنها تطرح تحديًا كبيرًا أمام الميكانيكيين وأصحاب السيارات الذين يعتمدون على أدوات قياسية.
فالأدوات التقليدية لن تكون قادرة على الإمساك بهذه البراغي، ما يعني أن أي محاولة لإصلاح السيارة ستتطلب معدات خاصة من الشركة نفسها أو من موردين معتمدين.
هذا الأمر أثار مخاوف من أن يصبح الوصول إلى مكونات أساسية في السيارة أكثر صعوبة، ويزيد من اعتماد المالكين على مراكز الخدمة الرسمية.
ردود الفعل على براغي بي إم دبليو الجديدة
لم يكن رد فعل الجمهور داعمًا لهذه الفكرة، إذ سخر كثير من رواد الإنترنت من التصميم الجديد، معتبرين أنه خطوة إضافية نحو تقييد الإصلاحات الذاتية.
وأشار بعض المعلقين إلى أن شركات الأدوات والقطع البديلة ستسارع إلى إنتاج مفاتيح متوافقة مع هذه البراغي، فيما ذهب آخرون إلى المزاح بأن نسخًا مقلدة ستظهر على منصات مثل "علي إكسبرس" و"تيمو" قبل أن تعتمدها الشركة فعليًا في سياراتها.
ورغم أن هذه البراغي لا تزال مجرد رسومات في براءة اختراع، فإنها أثارت نقاشًا واسعًا حول مستقبل الصيانة في عصر السيارات الكهربائية والذكية، حيث يزداد اعتماد المالكين على مراكز الخدمة الرسمية.
وبينما تتجه بعض الشركات مثل مرسيدس إلى تسهيل الإصلاحات عبر استبدال الغراء بالبراغي في مصابيحها الأمامية، يبدو أن "بي إم دبليو" تسلك طريقًا معاكسًا قد يزيد من تعقيد الإصلاحات اليومية.
