براءة اختراع جديدة.. فيراري تسبق الطريق بخطوة في نقلة نوعية
تواصل Ferrari (فيراري) سعيها الدائم لتعظيم الأداء على الحلبة، بعدما كشفت عن براءة اختراع جديدة لنظام الأيروديناميكا النشطة من فيراري يعتمد على التنبؤ بظروف القيادة المستقبلية وضبط العناصر الهوائية تلقائيًا قبل حدوثها، بدل الاكتفاء بردّ الفعل كما هو الحال في الأنظمة الحالية.
ويعكس هذا الابتكار فلسفة فيراري المتجذرة في عالم السباقات، حيث تُقاس الفوارق أحيانًا بأجزاء من الثانية، وهي مكاسب قد تصنع الفارق في سيارات الطرق عالية الأداء كما في الحلبات الاحترافية.
نظام تنبؤي ثوري قد يمنح فيراري أفضلية
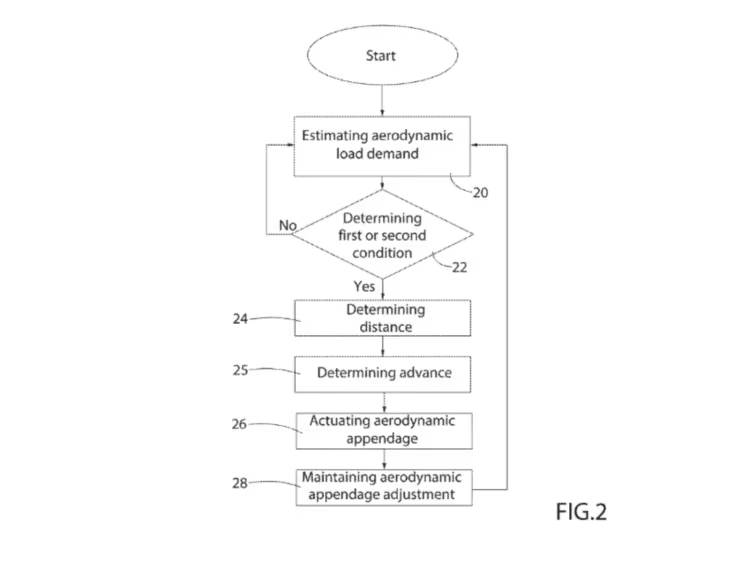
توضح براءة الاختراع، التي تحمل عنوان “نظام تحكم تنبؤي للعناصر الأيروديناميكية في مركبة طرقية”، أن الأيروديناميكا النشطة من فيراري تعتمد على خوارزميات تنبؤية لتقدير متطلبات القوة السفلية وظروف القيادة القادمة.
وقد تقدمت فيراري بطلب البراءة في يونيو 2025، قبل نشره رسميًا من قبل مكتب براءات الاختراع والعلامات التجارية الأميركي (USPTO) قبل أيام قليلة.
وعلى عكس الأنظمة التقليدية التي تغيّر وضع الأجنحة والعناصر الهوائية استجابةً مباشرةً للفرملة أو التسارع أو زاوية التوجيه، يقترح نظام فيراري نهجًا استباقيًا، يتوقع سلوك السيارة والظروف المقبلة، ثم يهيئ الإعدادات الهوائية المناسبة مسبقًا لتحقيق أفضل توازن بين الثبات والسرعة.
نظام فيراري الجديد الذي يتنبأ بالطريق قبل السائق
لم تحدد براءة الاختراع العناصر الهوائية التي سيشملها النظام بدقة، إلا أن أكثر الأمثلة شيوعًا هو الجناح الخلفي القابل للتعديل.
في أوضاع السحب المنخفض، يمكن للجناح أن يتخذ شكلًا انسيابيًا يقلل مقاومة الهواء ويعزز السرعة القصوى، على غرار نظام DRS المستخدم في الفورمولا 1.
أما عند الكبح، فيتحول إلى وضعية سحب أعلى، مولّدًا قوة ضغط إضافية على المحور الخلفي لتحسين التماسك والثبات أثناء المنعطفات.
ورغم أن تسجيل براءة الاختراع لا يعني بالضرورة وصول التقنية إلى سيارات الإنتاج، إلا أن اعتماد الأيروديناميكا النشطة من فيراري بهذا المفهوم التنبؤي قد يضيف عنصرًا جديدًا إلى ترسانة الشركة التقنية، إلى جانب حلول معروفة مثل الأنظمة الهوائية النشطة في SF90 Stradale، وحزم تخفيف الوزن المتقدمة في طرازات Speciale.
وفي حال قررت فيراري تحويل هذه الفكرة إلى واقع، فقد نشهد مستقبلًا سيارات طرق قادرة على “قراءة الطريق” مسبقًا، ما يمنح السائق أداءً أكثر دقة وزمن لفات أقصر، ويؤكد مرة أخرى أن روح الحلبة لا تزال حاضرة بقوة في سيارات فيراري المخصصة للطرقات العامة.
